Штуцер дискретный регулируемый ШДР 03М-00.000 - Продам в Нижнем Новгороде



Штуцер дискретный регулируемый ШДР 03М-00.000
Производитель
Россия
Цена договорная
В наличии
Нижний Новгород (Россия)
Состояние: Новый
Контакты
opkdro
Елена Александровна Мельцаева

Детальное описание

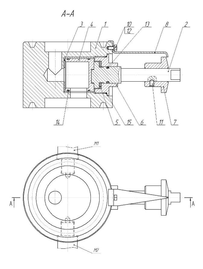
Штуцер дискретный регулируемый ШДР 03М-00.000 устанавливается в фонтанной арматуре за линейной задвижкой. ШДР 03М-00.000 предназначен для эксплуатации в климатических условиях УХЛ категории размещения 1 по ГОСТ 15150-69. Рабочая среда нефть, вода и газ. Рабочее давление 21 Мпа. Условный размер проходного отверстия регулируемого органа 2; 2,5; 3; 4; 5; 6; 8; 10; 12; 14; 18;20мм. Рабочая температура окружающей среды от -60°С до +40°С. Точность калибровки отверстий ±0,01 мм. Управление штуцером ручное.  Регулируемый орган - цилиндр. Габаритные размеры, без учёта выводов для манометров 265х136х100 мм.  Масса, не более 11,3кг.

Штуцер состоит из корпуса 1, в котором находится цилиндр с калиброванными отверстиями, вала привода цилиндра 2. Уплотнение цилиндра осуществляется резиновыми кольцами 13 и 14. Указатель 8 показывает на лимбе 7 расположение отверстий цилиндра и направление движения среды.

�ри него стаканом 2. Стакан предназначен для повышения стойкости корпуса от промывания в зоне регулирования штуцера. Корпус и стакан имеют окна, образующие проходное сечение штуцера. В верхней части корпуса завернута резьбовая обойма 3, по внутренней резьбе которой перемещается вал 5 с ходом 60,5мм. Конец вала шарнирно связан с наконечником 4, имеющим материал Сталь 40Х13 с повышенной антикоррозионной стойкостью. Вал с наконечником в сборе является регулирующим органом. В верхней части вала с помощью воротка 7 жестко закреплен стакан-указатель 6, при помощи которого считываются показания двух линейной шкалы, градуированной в диаметрах отверстий с условным проходом, эквивалентным проходу рабочего окна стакана 2 для данного положения вала 5 с наконечником 4. 

Создано 29.11.2017 Изменено 19.03.2026


Похожие объявления

Штуцер дискретный регулируемый ШДР-9МК2
Состояние: Новый
В наличии
Нижний Новгород (Россия)
Штуцер дискретный регулируемый ШДР 9К-80х70-М
Состояние: Новый
В наличии
Нижний Новгород (Россия)
Штуцер дискретный регулируемый ШДР-9М-90-2/20-65-35
Состояние: Новый
В наличии
Нижний Новгород (Россия)
Штуцер дискретный регулируемый ШДР-9М-90-2/20
Состояние: Новый Производитель: НПП ОПК (Россия)
В наличии
Нижний Новгород (Россия)
Штуцер дискретный регулируемый ШДР-9М-2/20 коррозионно-стойкий (нержавеющая сталь)
Состояние: Новый Производитель: НПП ОПК (Россия)
В наличии
Нижний Новгород (Россия)
Штуцер дискретный регулируемый ШДР-9М-123,8-2/18-80-35
Состояние: Новый
В наличии
Нижний Новгород (Россия)
Штуцер дискретный регулируемый ШДР-9МА-3/18
Состояние: Новый
В наличии
Нижний Новгород (Россия)
Штуцер дискретный регулируемый ШДР-9М-4/12
Состояние: Новый
В наличии
Нижний Новгород (Россия)

Вы недавно смотрели

Закрыть
Добавить объявление