Шатун И 1330, шатун ИВ 1330, шатун ИТ 1330, шатун ИГ 1330, шатун ИР 1330, шатун, матрица, пуансон, призма, нож - Продам в Севастополе
Детальное описание
Производим весь спектр запасных частей для КПО
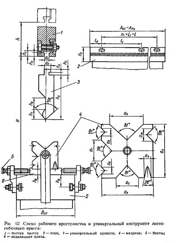
Матрица, Призма, Пуансон, Ползун, Шатун
Шатун: чугун СЧ 25
Втулка: бронза, антифрикционный силумин
Матрица 6-ти ручьевая: сталь 65Г
Пуансон цельный наборный: сталь 45, сталь 65Г
Шатун ИТ 1330, шатун И 1330, шатун ИВ 1330, шатун ИР 1330, шатун ИГ 1330
Реализуем запчасти для прессов листогибочных
ИВ 1330, ИТ, ИГ, ИР, ИБ, И с ус. 100 - 250 тн, стол 2000 – 5000 мм
Матрица 6-ти ручьевая
Пуансоны цельные, наборные, специальные
Шатун в сборе с винтом 100*12
Доставка по РФ, СНГ. Наличие на складе.
Skype: kpomarket
Tel: 89226375400
Создано 25.09.2015 Изменено 26.11.2025



kpomarket